سیلندر هیدرولیک
سیلندر هیدرولیک یکی از اداوات مهم در سیستم های هیدرولیکی می باشد و به وفور در دستگاه های صنعتی و راهسازی استفاده می شود. در ادامه به تعریف سیلندر هیدرولیک می پردازیم.
تعریف سیلندر هیدرولیک
سیلندر هیدرولیک نوعی عملگر خطی می باشد که با تبدیل انرژی سیال به انرژی مکانیکی، عمل رفت و برگشتی انجام می دهد. به جهت اعمال نیروی فشاری و در مواردی نیروی کششی از سیلندر هیدرولیک استفاده می شود.
کاربرد سیلندر هیدرولیک
همانگونه که گفته اعمال نیروی فشاری یکی از کاربردهای اصلی سیلندر هیدرولیک می باشد که در پرس هیدرولیک و دستگاه های تست مورد استفاده قرار می گیرد. در دستگاه های تست آزمایشگاهی به جهت محاسبه مقاومت کشش مواد نیز از سیلندر هیدرولیک استفاده می شود. در ماشین های راهسازی به وفور سیلندر هیدرولیک یافت می شود، به عنوان مثال در بیل مکانیکی از سیلندر هیدرولیک به عنوان محرک عضلانی بازوهای ماشین استفاده می شود. در صنایع کشاورزی و دیگر صنایع سیلندر هیدرولیک کاربرد دارد.
انواع سیلندر هیدرولیک
سیلندر هیدرولیک به دو دسته تقسیم می شود :
• سیلندر هیدرولیک یکطرفه
• سیلندر هیدرولیک دوطرفه
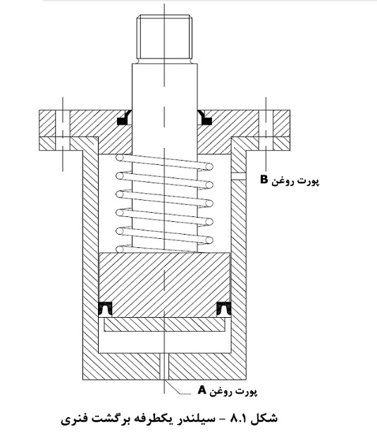
در سیلندر هیدرولیک یکطرفه اعمال نیرو به پیستون توسط روغن هیدرولیک تنها در یک جهت (جهت فعال سیلندر) و اعمال نیرو در جهت عکس، توسط فنر، سیلندر هیدرولیک کمکی یا به واسطه وزن یک جسم خارجی صورت می پذیرد.
سیلندر دوطرفه سیلندر هایی می باشند که می توانند هم در جهت جلو و هم در جهت معکوس توسط فشار سیال، اعمال نیرو کنند. سیلندر دوطرفه می تواند نیرو را در هر دو جهت رفت و برگشت اعمال کند.
در تصویر زیر هنگامی که روغن وارد پورت A می شود، سیلندر نیرو را در جهت جلو اعمال خواهد کرد و کورس برگشت توسط نیروی گرانش (وزن) و فنر تامین می گردد

درحالی که در تصویر زیر زمانی که روغن وارد پورت A می شود، سیلندر نیرو را در جهت جلو اعمال خواهد کرد و هنگامی که روغن وارد پورت B می شود، سیلندر نیرو را در جهت برگشت اعمال خواهد کرد.









































